当前位置: 首页 > 物流技术 > 产品资讯

2017年顺丰营收近711亿元 净利同比增长14.14%

  顺丰控股发布2017年业绩快报,营业总收入710.94亿元,同比增长23.68%;归属于上市公司股东的净利润47.71,同比增长14.14%。  顺丰主营业务为速运物流综合服务。2017年度,公司实现营业利润64.49亿元,较上年同期增长74.63%,公司盈利能力持续加强。  公告称,这主要受益于:...

02月27日 20:08 新浪科技
这才是工业4.0标准的生产线

这才是工业4.0标准的生产线

  由于生产数据的高度数字化,洪堡工厂的工业4.0生产线具有更高的安全性,能够做到工序出错和质量偏离预警管理。  以下为博士力乐工业4.0智能生产线  在博世力士乐,工业4.0已不再仅仅是一个概念。博世力士乐是工业4.0的领先...

02月27日 15:48

科纳普推出新一代穿梭系统——OSR穿梭车EVO

基于长达15年的行业创新研发经验,科纳普推出新一代的穿梭系统——OSR穿梭车EVO。穿梭车技术的开路先锋2002年科纳普凭借穿梭技术改变了物流世界,而如今,科纳普更好地应用定制化的穿梭技术来满足当以及未来的物流需求。目前,秉承企业哲学“化繁为简”,OSR穿梭车EVO以其新的简单特性应对日益复杂的物流世界...

02月11日 14:38
2018 年,不得不了解的物流运输工具——新能源货车

2018 年,不得不了解的物流运输工具——新能源货车

近些年,“绿色出行”、“节能减排”等理念,深入人心。物流运输工具在新技术驱动下,改变能量供应形式,转变为清洁能源供应,此势必会给整个运输供应链带来颠覆性的变化。政府支持,巨头紧盯,这一“绿色”市场,谁都不是小玩家,敢参与就是实...

02月07日 15:42
穿梭车EVO-全面天才

穿梭车EVO-全面天才

  拥抱创新  世间万物都在变化发展,有的变化突然,日新月异;有的变化如春起之苗,不见其增,日有所长。可以确定的一点是,但凡改变,皆有挑战。有些挑战,比如对业务发展预见的局限性和效率与质量的高需求,促使我们向前寻找新的方案和不...

02月05日 14:33
想要在同行业竞争者中取的优势,门店和库里都少不了它

想要在同行业竞争者中取的优势,门店和库里都少不了它

  在工作日没有足够的时间等待设备充电,,现有终端设备不能全天运行,设备早已耗光电量,导致客户不满,怎么办?  无论是跌落、溅水、还是在布满灰尘的后勤区、瓢泼的大雨中抑或是极端的高热或低温环境中使用,现有终端设备都不能适应工作...

02月05日 14:27
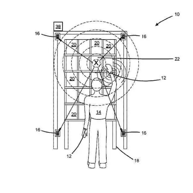
亚马逊腕带专利曝光:专为追踪仓库职工工作表现设计

亚马逊腕带专利曝光:专为追踪仓库职工工作表现设计

  亚马逊申请了腕带设计专利,它可以精确地跟踪仓库员工放置手的位置,当有人从亚马逊订购产品时,信息会传送到所有仓库人员携带的掌上设备中。收到订单详细信息后,工人必须迅速从货架上取出产品,将其装入收货箱并转至下一个作业。  根据...

02月05日 11:13

京东物流“春节也送货” 下单依然可以次日达

  随着春节临近,很多消费者已经开始在网上置办年货。记者从京东物流获悉,春节期间可照常下单,物流配送也如平日一样。此外,京东全国客服中心也将24小时正常运营。  据了解,今年春节期间京东物流将覆盖包括重庆在内的近300个城市、上千个核心区县。自2013年首次提出春节不打烊以来,京东物流“全年无休”的举措...

02月02日 09:12 重庆商报

10秒快速发布需求

让物流专家来找您